Bueno, continuamos con la segunda parte de la presentación (venimos de este hilo ), describiendo el modelo, y ya mostrando las fotos de los míos…
Deciros que yo ya tenía uno, que estaba restaurando, y que pudisteis ver en este hilo (aún queda un poquito para que esté listo): Ayuda con Aquastar 63
Pero hace un par de meses, tuve la gran fortuna de encontrar algunas de estas piezas, y en un estado que no esperas ver en tu vida.
A través de un anuncio inocente y mal fotografiado, en el que se vendía un único reloj, acabé comprando varias unidades del modelo 63 de Aquastar en sus tres versiones, acero, chapado en oro, y de señora.
Recordemos que estos relojes fueron fabricados durante varios años desde 1963, y normalmente los que se ven a la venta en la red suelen estar bastante machacados, diales estropeados por la humedad, no les funciona el bisel interior, están muy rayados (la caja era acabado brillo), correas sustituidas porque las Tropic no han sobrevivido, hebillas de terceros, etc.
Pero cuando vi éstos in situ, no me lo podía creer. No es que estuvieran nuevos… es que llevaban metidos en una maleta casi 60 años!!!
En todo este tiempo, no se habían utilizado ni una sola vez. Venían con su caja, papeles, correa Tropic original intacta, etiqueta… funcionamiento perfecto para la edad que tienen, incluyendo el bisel, claro. Vamos, unas condiciones que prácticamente no se habían visto hasta ahora en Internet.
Están tan perfectos que, contradiciendo mi opinión sobre el uso de los relojes, se van a quedar dentro de la caja. De hecho, ni siquiera los voy a llevar a revisar, aunque lo necesitan, ya que tantos años sin usar hacen que los aceites interiores no están en las mejores condiciones. Pero sinceramente, me da miedo que alguien roce y estropee esos diales impolutos al quitar las agujas. No hay ninguna necesidad de correr el riesgo, al fin y al cabo, no funcionan mal.
Y ya me pondré sin cargo de conciencia el Duward que estaba restaurando, que también va a quedar fantástico…
Aquí tenéis al trío clavera:
Voy a aprovechar para describirlos bien, intercalando fotos detalladas de los tres modelos. Aunque, como imaginaréis, el de señora no va a tener tanto peso como los otros en el hilo.
Como características técnicas, recordemos que estos relojes tienen la típica caja de los skin diver de la época. Caja en la que se basó Seiko para hacer su primer diver, el 62mas. Básicamente Seiko desarrolló un diver a toda prisa mientras echaba el resto con los cronos destinados a sus JJOO, y aprovechó la caja de los relojes de buceo suizos, e incluso la correa, ya que incluyó también una Tropic Swiss made.
Esta caja mide 37mm de diámetro, y tiene una longitud de asas bastante grande, 47mm. Por ello, y por la forma integrada de las asas con la caja, quedan bastante más grandes en muñeca de lo que dice su diámetro.
Vemos en primer plano la caja, con las asas muy integradas en la misma, y bastante altas. El acabado de toda la parte superior es pulido brillante, por lo que es muy complicado encontrar relojes en buen estado.
Los laterales de la caja son cepillados en las versiones de acero, y brillo en la chapada en oro. Las aristas de la caja no tienen ningún biselado. Vamos, la caja, estándar de los skin divers, tenía una forma bastante tosca. Al fin y al cabo, estos relojes eran una herramienta, y no se cuidaban tanto estas cosas.
El cristal es un plexiglass abombado sin lupa, que acaba de rematar la estética vintage del modelo, y que hace que el reloj se vaya hasta los 13,30mm de altura. El del modelo de mujer presenta además una lupa para la fecha por su cara interior.
En el interior de las asas de la versión dorada aparece el tipo de chapado en oro, Plaque G20 (Gold 20 microns)
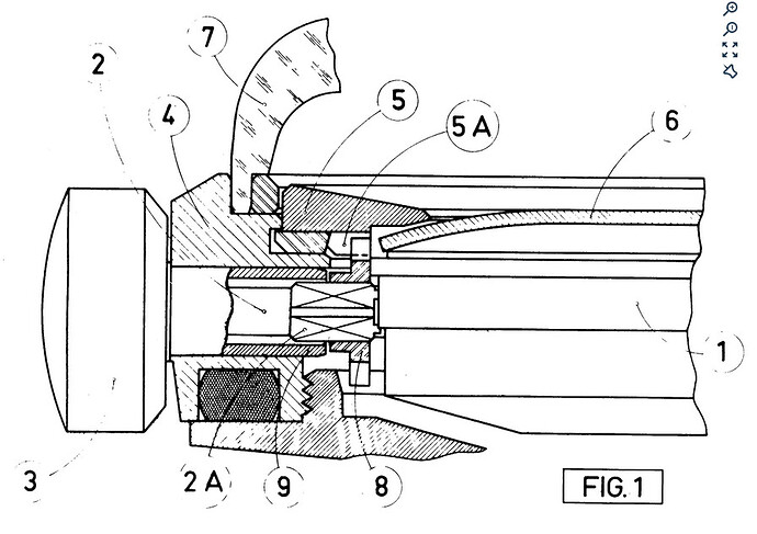
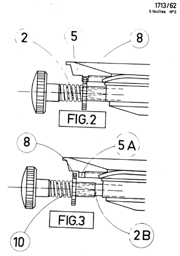
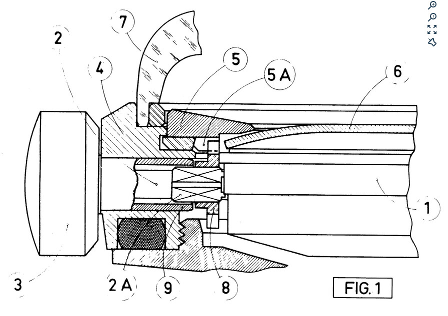
Por dentro viene la “revolución”, el dial con bisel interno incorporado, accionado por la corona. Cuando enroscas, el reloj carga y se gira el bisel. Si giras hacia el otro lado, el bisel gira también. La verdad es que no es el bisel más seguro para bucear, os lo podéis imaginar…
Este bisel fue una invención de la propia Aquastar, y así queda registrado en la patente suiza nº CH171362A4, Pièce d’horlogerie comprenant un organe de remontage et de mise à l’heure et une lunette rotative par rapport au cadran, montée à l’intérieur de la boîte
Aquí lo tenemos en acción:
El dial del modelo 63 se presentaba en tres colores, gris oscuro o bronce para los de hombre de acero, y champagne en el de hombre chapado en oro. Los míos marcados como Aquastar son grises, y el marcado como Duward es bronce. Los textos y localización en el dial difieren entre versiones y por supuesto, marcas. Al tener que añadir el nombre del distribuidor local, se eliminaba algún texto.
La configuración del dial era la clásica de la marca, con índices 12-3-6-9 trapezoidales con acabado brillo (plateado o dorado), que enmarcaban el tritio. El resto de índices, aplicados directamente en puntitos de tritio. En el dial aparece claramente la T de tritio después del Swiss Made.
¿He dicho ya que llevaba tritio?
Bueno, pues en las agujas, rectangulares, y loliipop la segundera, también lo lleva…
Hablando de tritio…
No os emocionéis… la foto es gracias a la luz UV… el pobre está más quemado que que la pipa de un indio, y dura una décima de segundo. Pero qué bonito queda en el dial… ![]()
¿Seguimos repasando el reloj?
Podemos pasar ahora a la trasera. Aquastar se caracterizó por diseñar una tapa trasera que hace las delicias de los actuales coleccionistas, pero no de los relojeros. Es una pena, pero la falta de la herramienta adecuada ha hecho que muchas de estas tapas estén destrozadas por relojeros ñapas…
Por supuesto, éste no es el caso. Estas tapas no han sido abiertas en toda su vida. El cepillado está perfecto, como también el lacado del logo Aquastar, que normalmente se va borrando por el uso, quedando únicamente el logo grabado.
Aquí la trasera del modelo de señora, llamado “Aquastarlet”…unos cracks éstos de Aquastar ![]()
Algunos recordaréis que me hice una herramienta chapuza en el hilo nombrado al principio… (aquí con la tapa de mi Duward ya quitada)
Pues bien, estoy mejorándola gracias a la impresión 3D, gracias a @lubusssster
En las tapas se ve grabado debajo del número de serie (que he borrado) el número del calibre. En los modelos de hombre, 1903, y en el de señora 2551. Este número corresponde al calibre interior.
En los modelos de hombre se comenzó un calibre automático de A. Schild 1701, a 18.000 alternancias, y 41 horas de reserva de marcha. Posteriormente se fueron actualizando al modelo 1713, y por último al 1903, que es el que llevan los míos, que ya latían a 21.600 bph, con una reserva de 44 horas.
En el Duward, sin embargo, tengo un 1701.
El modelo de señora cambiaba de fabricante, llevando un automático ETA 2551. Minúsculo, por cierto…
Y hablemos de la correa. Es una de las cosas que más llama la atención. Leemos continuamente acerca de las correas “Tropic”, sabemos que era la firma suiza que fabricaba las primeras correas para divers, e incluso que se han empezado a fabricar de nuevo, y a vender a precios nada populares.
Aquastar vendía sus relojes con diversas opciones de correa, pero las más habituales eran Tropic. Luego se incorporaron las Isofrane, armis NSA… Y Tropic eran las que llevaban originalmente los modelos 63.
Pero realmente no se suelen ver correas Tropic originales. Y si aparecen, llevan ya un trote importante. Siempre se habla de lo buenas que eran, que su compuesto era muy resistente para el uso principal de buceo, etc, etc… Pero claro, para comprobarlo había que tener en la mano una en un estado nuevo… recién salido de la caja…
Bingo!
Y cómo es una correa Tropic “viejoven”? Pues la verdad, una pasada. No he probado las nuevas Tropic. Se supone que están fabricándolas con la fórmula original, así que habrá que probarlas, porque si son como éstas, valdrán la pena pese al precio. Esta es una goma muy flexible, comodísima, con un dibujo en relieve muy marcado, un brillo que no se ve en una de silicona o FKM… Pero claro, es una original y da miedo ponérsela ![]()
Como veis en las fotos, llevan también sus hebillas de la marca, con la estrellita de mar, algo bastante apreciado, porque era lo primero que volaba cuando se les cambiaba la correa ![]()
He hecho unas fotos en las que se ve la comparativa de la Tropic original con una “tipo Tropic” actual de Yema, y nuestra querida Juelong Tropic de Aliexpress…
Aqui Tropic:
Yema:
Juelong FKM:
Como curiosidad, lo mas parecido que he encontrado (o puede que igual) es la reproducción de las Seiko originales que hace el canadiense WJean, y que recomiendo para vuestros Seiko vintage (Strapboutique)
Madre mia, esto se me está haciendo largo…
Finalmente, como buenos “New Old Stock”, por supuesto llevan toda su dotación, incluyendo caja y documentación. Así que aprovechando que tampoco es fácil de ver, he fotografiado todo el “manual”, para que lo disfrutéis, que siempre es curioso leer documentos del pasado relojero…
Las cajas, también muy difíciles de ver, e imposible en este estado:
Y ya para rematar, un catálogo que adquirí recientemente para acompañar a la colección ![]()
Hala, majos, espero que os haya gustado, y hayáis descubierto muchas cositas nuevas de estos fantásticos modelos.
Saludos!!!


































































